Revolutionary “Ghost Player” Technology Will Let AI Handle the Boring Parts
Remember when people laughed at the idea of games playing themselves? Well, Sony just made it real.
The Patent That Proves Everyone Wrong
Three years ago, a simple question sparked heated debate: when will games feature an autopilot mechanic? Imagine an AI handling tedious moments while you grab a beer and chips, or taking over your save file to progress through the story while you watch. The response? People called it “gaming cuckoldry” in the comments.
Fast forward to today, and Sony has officially patented an AI assistant technology that can play through difficult, tedious, or frustrating sections of games on your behalf.
How Ghost Player Actually Works
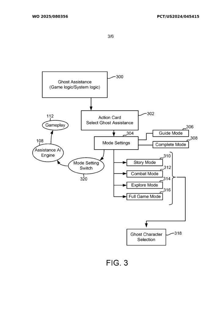
According to patent documents filed in September 2024 and published this week by the World Intellectual Property Organization, the system operates through several distinct modes:
Guide Mode – The AI demonstrates the solution to a puzzle or challenge, showing you how to proceed before you take control back. Think of it as a smart, context-aware tutorial that appears exactly when you need it.
Complete Mode – The AI simply handles the entire section for you. Stuck on a boss fight? Let the ghost take over. Tired of climbing sequences? Skip ahead to the action.
Story Mode, Combat Mode, Explore Mode, Full Game Mode – The patent reveals multiple specialized modes, suggesting players will have granular control over exactly what the AI handles.
The technology goes beyond simple pre-recorded solutions. The AI model is trained on actual gameplay footage, allowing it to adapt to different situations rather than following a fixed script set by developers.

Why This Changes Everything
The patent documents show this isn’t just about skipping content. It’s about personalizing your gaming experience. Here’s what becomes possible:
Replay your favorite games differently. Imagine replaying all the Uncharted games while skipping the climbing and environmental puzzles, keeping only the shooting and stealth sections. Or diving back into Cyberpunk 2077, outsourcing all the driving and tower hacking to AI, jumping straight into firefights.
Accessibility reaches new levels. Players with disabilities or limited time can experience story-driven games without being blocked by difficult skill checks.
Trophy hunting becomes less tedious. PlayStation fans who enjoy collecting trophies already appreciate the PS5 Game Help system. Ghost Player takes this convenience to the next level.
The Technology Behind the Ghost
Sony’s system builds upon the PS5 Game Help feature launched with the PlayStation 5. That system provided guidance through images and video via PS5 cards accessible during gameplay. While useful, it still required players to execute the solution themselves.
Ghost Player represents a significant evolution. The AI assistant integrates directly with the game engine, analyzing the current game state and utilizing multiple training factors (labeled TF₁ through TFₙ in the patent diagrams) to generate appropriate actions in real-time.
The system includes an “Assistance AI Engine” that connects to:
- Mode settings selected by the player
- Game state and session data
- The AI model trained on gameplay footage
- Direct gameplay control

A Growing Trend in Gaming AI
Sony isn’t alone in exploring AI-powered gaming assistance. Microsoft recently introduced Copilot for Gaming, described as an “AI-driven sidekick” designed as a personalized gaming companion.
Microsoft’s system focuses on coaching less experienced players. Demo examples showed a Minecraft player asking what they could do with wood, or an Xbox mobile app user requesting the AI install Age of Empires IV and provide a recap of their last session.
The difference? Sony’s patent suggests a more hands-off approach where the AI actively plays the game, rather than just providing information and guidance.
The Controversy You’d Expect
As with any technology that changes how we interact with games, Ghost Player faces skepticism. Critics raise valid questions:
- Does letting AI play games defeat the purpose of gaming?
- Will developers design games around this technology, making sections intentionally tedious to encourage AI usage?
- Where’s the line between assistance and replacement?
But proponents argue the opposite:
- Many games already include difficulty options and skip mechanics
- Assistance systems for puzzles are common (though sometimes criticized for being too aggressive)
- Players should have freedom to experience games how they want
- Not everyone has unlimited time or reflexes to overcome every challenge
What Games Already Do
Modern Sony titles like God of War Ragnarök have faced criticism for overly helpful NPC companions who loudly hint at puzzle solutions immediately. Many games allow players to skip encounters or lower difficulty when challenges become frustrating. Puzzle games routinely include hint systems.
Ghost Player formalizes and expands these existing concepts into a unified, AI-powered system.
The Reality Check
Important note: This is currently just a patent. Sony and other companies file numerous patents annually for technologies that never reach production. There’s no confirmation that Ghost Player will appear in future PlayStation hardware or games.
However, the detailed nature of the patent, combined with industry trends toward AI integration, suggests Sony is seriously exploring this direction.
The Vision From Three Years Ago
Looking back at that question from three years ago, the vision is becoming reality. The ability to customize your gaming experience, delegating parts you don’t enjoy while keeping the moments you love, is no longer science fiction.
Whether you think this represents the future of accessible, personalized gaming or the death of traditional game design probably depends on how you view player agency and what “gaming” fundamentally means to you.
One thing’s certain: the conversation about AI in gaming has moved from “if” to “when” and “how much control should players have?”
Comments (0)
Sign In / Sign Up
Sign in with your Google account to leave a comment. It's fast, easy, and secure.
No comments yet
Be the first one to share your thoughts!